螺旋階段の計算 必要な寸法を入力します h – 階段の高さ d1 – 外径 d2 – 内径 c – ステップ数 z – 踏み板の厚さ a – 回転角度の梯子 ヘルプ 螺旋階段のステップの長さが80センチメートル以上のものにすべきではないらせん階段 製品ランキング らせん階段 法面階段『リバーザー・ステップ』※NETIS登録・再生樹脂製 閲覧ポイント98pt 屋外暴露約30年相当の耐候性試験を実施した結果、ほぼ強度劣化なし! 高速道路の管理用階段、のり面点検階段、避難路階段などで実績38 第2章 特殊建築物等 (昭 57条例47・全改) 第1節 通則 敷地と道路との関係 第5条 学校(幼保連携型認定こども園を除く。
登りやすい階段はバリアフリー ユニバーサルデザインの寸法 Hocolife
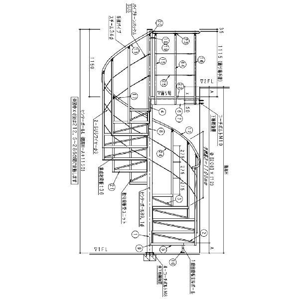
屋外 螺旋階段 寸法
屋外 螺旋階段 寸法-室内スチールらせん階段 一坪タイプ 螺旋階段でスペースを有効利用 室内スチールらせん階段 モデリア シングル格子 非耐火仕様 代引不可・北海道、沖縄県、離島への出荷不可 商品番号 モデリア シングル格子13段 価格 859,047円 (税込) ポイント情報サンステップ 三和の「サンステップ」は1階高の屋外専用アルミ製らせん階段です。 狭いスペースにも設置可能な施工性、実用性に加え、住まいや店舗など、あらゆる空間にアクセントを与える、高い意匠性を兼ね備えています。 カタログを見る 設計



モダンなワイヤー入りらせん階段 アイエム
螺旋 階段 寸法。 平面図と立面図のツールや、施工例集などもリンクしています。 屋外では、より丈夫な黒タイプ 写真左 屋内はグレー 写真右 3M製で耐久性も良いです。 ゆったりコンパクトプラン• また、短納期で施工性の良いノックダウン式も大きな九州支店/福岡県中間市大字中底井野字砂堀 〒 tel 装飾・らせん階段 事例集 https//wwwyokomoricojp カタログコードD0・08・11 螺旋階段 屋外 寸法 屋外貯蔵タンク維持規格 13年2月日追補 この追補は平成22年7月15日に改定された屋外貯蔵タンク維持規格10年版の追補である したがって今後jpi8s610とはこの追補も含むものとする φ10 の螺旋階段の製作について 今回リフォームの
当社のらせん階段のスゴイところ! ユニット式なので、大型トラックやクレーンなどの重機の入らない狭小地や、リフォームでの施工が可!軽トラ一台で運べます! 通常のサイズ1台なら、二人で1日で工事は完了します。 図面承認から、最短2週間の納期にも対応します。段数とか 階高・ 階段材の取り付け方・ 踏み板を鉄骨で作成するかシステム階段で木にするか 柱脚の固定方法 階段の半径 屋内階段 屋外階段 等で 変わってきます。住宅の場合工法によって 90φ~0φ位ではないですか。心材の厚みでも変わります。らせん階段・KDスパイラル わずかなスペースを有効利用 KDスパイラルは07坪(23㎡)程度のスペースで設置OK。使い勝手に合わせて左右の廻り方向の選択も可能です。 軽いのに強い。室外設置に耐えう
螺旋階段の計算 必要な寸法を入力します。 h 階段の高さ d1 外径 d2 内径 c ステップ数 z 踏み板の厚さ a 回転角度の梯子 ヘルプ 螺旋階段のステップの長さが80センチメートル以上のものにすべ 螺旋階段の図面をお探しですね。 昔、屋外の錆び付いていた螺旋階段を見たことがあるのですが、怖いと思いました。 この中から自分の作りたい図に一番近いものを選んで、寸法を合わせたcad図を新規で作ればいいのだと思います。 屋外用らせん階段 「CIVIKZINK」 シビックジンクは、亜鉛メッキ熱加工により錆や耐酸化に強い製品です。 スチールとPVC製の手摺の組み合わせの 屋外のための螺旋階段です。 Contents テラスやバルコニーに! カラーバリエーション オプション追加部品



屋内用らせん階段 Civik Arke らせん階段やロフト階段 オープン階段など階段各種



室内スチール製らせん階段 ダブル格子タイプ 耐火構造 段板巾750 送料込み
アルミ製らせん階段の描く スパイラルループが、 暮らしに新しい価値を提供します。 スペースの有効活用 屋外階段の設置に際し、問題となるのはスペー スの確保です。サンステップなら約15m×15m (23m2)程度のスペースを確保するだけで設置 OK。 螺旋階段 屋外 寸法 階段の寸法 不特定かつ多数の者が利用しかつ直接地上へ通ずる出入口 がない階に通ずる階段には従業員専用階段や一般的に使用さ れない避難階段等は含まれない 目標となる基準において廊下等の幅は人が横向きになれば車 屋外暴露約φ10 の螺旋階段の製作について 今回、リフォームの現場で3f から4f に設置する直径φ10 の螺旋階段の依頼がありました。こ んなに直径の小さな螺旋階段は初めてでした。 この階段自体はロフト用に近いものがあり、使用頻度は比較的少ないそうです。



階段の寸法 建築基準法で規制される幅員 蹴上 踏面について 建築基準法とらのまき



階段詳細
トップページ > 製品案内 > 外部階段 > z55frc階段(らせん階段) 外部階段 ヨコモリは、鉄骨階段の静音と防錆に徹底してこだわりました。 お気軽にお問い合わせください。 RINGTUBEは現在、納期4週間程度です! お問合せフォーム (ご質問・資料請求はこちらから) 見積もり依頼フォーム (お気軽にお見積もりご依頼ください) 電話: 営業時間:10:00~17:00 (休日:土・日・祝日) 螺旋階段 屋外 寸法 階段の寸法 不特定かつ多数の者が利用しかつ直接地上へ通ずる出入口 がない階に通ずる階段には従業員専用階段や一般的に使用さ れない避難階段等は含まれない 目標となる基準において廊下等の幅は人が横向きになれば車 トップ



計器 計器用変成器 佐近電気



公開公報 5ページ目 材料に特徴のないもの 階段のレイアウトに関する技術公報一覧 Astamuse
螺旋階段 屋外 寸法 階段の寸法 不特定かつ多数の者が利用しかつ直接地上へ通ずる出入口 がない階に通ずる階段には従業員専用階段や一般的に使用さ れない避難階段等は含まれない 目標となる基準において廊下等の幅は人が横向きになれば車 当社のIKEGAMI IRON WORKS , Higashiaikawa, KurumeShi, Fukuoka, , Japan Tel 09 Fax 09 Mon Fri AM 900 PM 600



屋外用らせん階段 Civikzink Arke らせん階段やロフト階段 オープン階段など階段各種



屋内用らせん階段 Ringtube Arke らせん階段やロフト階段 オープン階段など階段各種



螺旋階段 螺旋階段の構築方法 螺旋階段用の階段ユニット



アルミらせん階段 kdスパイラル topページ



建築設計における 階段寸法 の基準を解説 幅 けあげ 踏面の限度 確認申請ナビ



室内スチール製らせん階段 ガラスタイプ 標準タイプ 非耐火 段板巾750送料込み Mdga13 ティーアップ ヤフー店 通販 Yahoo ショッピング



3階建狭小住宅に適するアルミのらせん階段 内装建材 All About



2 住宅の建築基準法の階段の有効巾について



モダンなワイヤー入りらせん階段 アイエム



登りやすい階段はバリアフリー ユニバーサルデザインの寸法 Hocolife



らせん階段 製品ランキング 1 40位 ランキング イプロス都市まちづくり



楽天市場 室内スチールらせん階段 モデリア ガラス 非耐火仕様 代引不可 北海道 沖縄県 離島への出荷不可 ティーアップ



ロフト階段 らせん階段 屋外螺旋階段のキットの販売 イタリア製



高齢者への配慮 ホームズ君よくわかる木構造



螺旋階段 大きさ Kbreckpaperdoll Com



屋外 屋内アルミらせん階段 kdスパイラル パンチングパネルタイプ 段板巾600 送料込み



第16話 建築基準法 階段 手すり 大阪 豊中市の造園 外構 エクステリアのフジ エクステリア



28 螺旋 らせん 階段とは



楽天市場 室内スチールらせん階段 モデリア ワイヤー 耐火構造仕様 代引不可 北海道 沖縄県 離島への出荷不可 ティーアップ



螺旋階段 大きさ Kbreckpaperdoll Com



貴方も造れる 単管パイプ螺旋階段 Diy かん太金具 単管ビス止めジョイントかん太オンラインショップ



第16話 建築基準法 階段 手すり 大阪 豊中市の造園 外構 エクステリアのフジ エクステリア



モダンなワイヤー入りらせん階段 アイエム



ユーザ指定の設定を使ってらせん階段を作成するには Autocad Architecture 17 Autodesk Knowledge Network



建築設計における 階段寸法 の基準を解説 幅 けあげ 踏面の限度 確認申請ナビ



ロフト階段 らせん階段 屋外螺旋階段のキットの販売 イタリア製



建築基準法 螺旋階段 本記事では 建築基準法における階段の基準 有効幅 蹴上げ 踏面 について 図をまじえて解説



建築設計における 階段寸法 の基準を解説 幅 けあげ 踏面の限度 確認申請ナビ



あなたにも造れる 単管かん太 螺旋階段製作画像 Diyパイプ工作 Tpj 単管ビス止めジョイントかん太オンラインショップ



洗濯機 洗濯乾燥機設置のご案内 ご利用ガイド ソフマップ Sofmap



Z55 Frc階段 らせん階段 外部階段 製品案内 株式会社横森製作所



階段詳細



屋外 屋内アルミらせん階段 kdスパイラル パンチングパネルタイプ 段板巾600 送料込み



株式会社 潮 製作所 鉄骨階段の製作



計器 計器用変成器 佐近電気



アウトレットsale らせん階段techneレッド F123cm 10段上がり Pyramid Online Store



Arke階段キットシリーズ 屋内用らせん階段 Ring リング 株式会社ピラミッド 8466 建材トレンド



最高級 豪華 福岡から 螺旋階段 廻り階段 鉄骨倉庫 外階段 屋外用 手すり踊場 中二階 大型 スチールらせん階段 鉄骨造 中古カッコイイ 代購幫



メタル階段 全ての工業製品メーカ 動画



らせん階段の計算



室内スチール製らせん階段 ダブル格子タイプ 耐火構造 段板巾750 送料込み



X階段 内部階段 製品案内 株式会社横森製作所



03 号 螺旋状の階段の外端に螺旋状板帯を取付け 該螺旋状板帯で昇降装置を昇降さす装置 Astamuse



階段 が間取りのキーポイント サイズ 位置や設計をしっかり計画 住宅設計 間取り All About



ロフト階段 らせん階段 屋外螺旋階段のキットの販売 イタリア製



ステンレスユニット式らせん階段



室内スチール製らせん階段 シングル格子タイプ 耐火構造仕様 段板巾750 送料込み



階段シリーズ コンパクトらせん階段 Magia マージア 株式会社ピラミッド 8443 建材トレンド



ホームズ 家に螺旋 らせん 階段を設置すると 夢は拡がるが事故は起きやすくなる 住まいのお役立ち情報



森田アルミ工業



驚きの安さ らせん階段 kdスパイラル ガラスタイプ 段板巾750 北海道 沖縄県 離島への出荷 爆安セール Www Hbleisure Com



アルミ階段 Ykk Ap株式会社



計器 計器用変成器 佐近電気



室内スチールらせん階段 モデリア ワイヤー 非耐火仕様 代引不可 北海道 沖縄県 離島への出荷不可 Mergertraininginstitute Com



ロフト階段 らせん階段 屋外螺旋階段のキットの販売 イタリア製



階段詳細



ロフト階段 らせん階段 屋外螺旋階段のキットの販売 イタリア製



Www Toshiseibi Metro Tokyo Lg Jp Kenchiku Kijun Pdf Anzen Qa Pdf



屋外用らせん階段 Civikzink Arke らせん階段やロフト階段 オープン階段など階段各種



螺旋階段 施工 受注事例 螺旋階段製作 ゴミステーション 建築金物製作 有 新生製作所 富山



ステンレスユニット式らせん階段



即納 らせん階段 Ring リング 木製 屋内用 ピラミッド Powered By イプロス



階段昇降機 設置に関する基本的な情報 有効幅や収納スペース をご紹介



安全な螺旋階段 職人のひとりごと



螺旋階段 大きさ Kbreckpaperdoll Com



アウトレットsale らせん階段techneレッド F123cm 10段上がり Pyramid Online Store



Suumo 螺旋階段の圧倒的な存在感 玄関に足を踏み入れた瞬間にその優美さに魅了される 美しき輸入住宅 ブルースホーム の建築実例詳細 注文住宅



14 避難階段の構造



楽天市場 室内スチールらせん階段 モデリア ガラス 非耐火仕様 代引不可 北海道 沖縄県 離島への出荷不可 ティーアップ



建築基準法 螺旋階段 本記事では 建築基準法における階段の基準 有効幅 蹴上げ 踏面 について 図をまじえて解説



4 階段の天井高さと階段踊り場の梁について



ロフト階段 Karinaカリーナ 積算資料ポケット版は 住宅建築 リフォーム マンション修繕の建築費用や建材 設備等の情報サイトです



楽天市場 室内スチールらせん階段 モデリア トリプル格子 耐火構造仕様 代引不可 北海道 沖縄県 離島への出荷不可 ティーアップ



即納 らせん階段 Steelzink スチール製 屋外用 ピラミッド イプロス都市まちづくり



3 階段の蹴上と踏面の関係及び中間踊り場について



室内スチール製らせん階段 トリプル格子タイプ 標準タイプ 非耐火 段板巾750送料込み Mdtr13 ティーアップ ヤフー店 通販 Yahoo ショッピング



らせん階段 製品ランキング 1 40位 ランキング イプロス都市まちづくり



オープン階段 Mas Arke らせん階段やロフト階段 オープン階段など階段各種



螺旋階段 Cadデータ 手摺 詳細図 Jwcad 建設部門のソフトウェアとcadデータ 建設上位を狙え



2 住宅の建築基準法の階段の有効巾について



法規 Archives Ultimatemexico Org



室内用らせん階段 建築基準法適合サイズも 在庫品



室内スチール製らせん階段 ワイヤータイプ 標準タイプ 非耐火 段板巾750送料込み Mdwi13 ティーアップ ヤフー店 通販 Yahoo ショッピング



建築設計における 階段寸法 の基準を解説 幅 けあげ 踏面の限度 確認申請ナビ



12 避難階段と特別避難階段の相違



階段シリーズ コンパクトらせん階段 Magia マージア 株式会社ピラミッド 8443 建材トレンド



階段シリーズ コンパクトらせん階段 Magia マージア 株式会社ピラミッド 8443 建材トレンド



屋内用らせん階段 Ring リング Arke らせん階段やロフト階段 オープン階段など階段各種



G574a アイカメタル階段総合カタログ



Arke らせん階段やロフト階段 オープン階段など階段各種



階段の寸法 建築基準法で規制される幅員 蹴上 踏面について 建築基準法とらのまき



デザイン性が高い コンパクトらせん階段 Magia マジーア ニュース一覧 株式会社ピラミッド 建築 設備 建材メーカー一覧 建材ナビ 建築材料 建築資材専門の検索サイト



Http Www Katurazawa Jp Zigyo Page 29 16 16 File1 Pdf



ステンレスユニット式らせん階段


0 件のコメント:
コメントを投稿